
軸承型號:BTM110B/P4CDBA
| 雙向, 精密,高精度軸承, BTM .. B design, 40°, preload A | |||||||||||
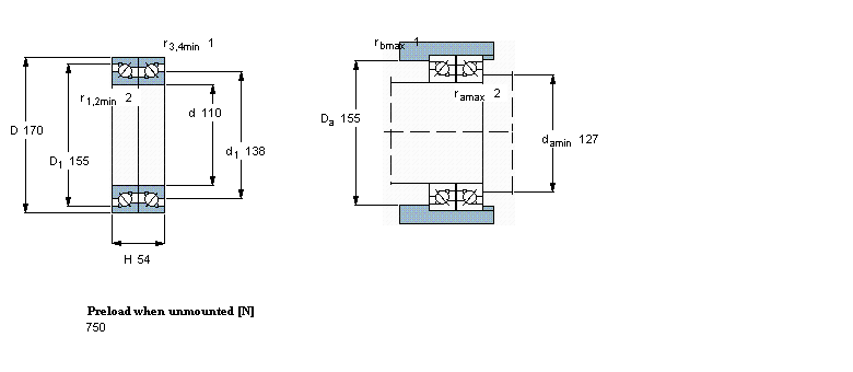
| 公差, 2344(00) 設計 , BTM 設計 | |||||||||||
| 推薦配合, shafts, housings | |||||||||||
| 軸和軸承座公差 | |||||||||||
|
|
|||||||||||
| 主要數據尺寸 | 基本負荷額定值 | 疲勞負荷限值 | 可達到的速度 | 體積 | 型號 | ||||||
| 動態(tài) | 靜態(tài) | 當潤滑與 | |||||||||
| 油脂 | 滴油潤滑 | ||||||||||
| d | D | H | C | C | C0 | Pu | |||||
|
|
|||||||||||
| mm | kN | kN | r/min | kg | - | ||||||
|
|
|||||||||||
| 110 | 170 | 54 | - | 73,5 | 173 | 6,2 | 4800 | 6000 | 3,90 | BTM 110 B/P4CDBA | |